Skip links
Skip to primary navigation
Skip to content
ALL FORMS
SEARCH / UPDATE ENTRIES
All Entry Forms
P0 – Site Info & Doc#
P1 – Parking
P2 – Exterior Routes
P3 – Interior Routes
P4 – Elevators & Lifts
P5 – Primary Areas
P6 – Other Elements
P7 – Toilet Rooms (1-21)
P7 – Toilet Rooms (22-Other)
P8 – Guest Rooms (8-18)
P8 – Guest Rooms (19-Other)
P9 – Pools
GENERATE REPORT
Logout
Toggle navigation
Resources
LinkedIn
This field is for validation purposes and should be left unchanged.
Primary Function Areas
Primary Function Areas
{Doc#:251} | {Location:248}
Doc#
FC 001
FC002
FC003
CC001
R34M001
R34MM001
ETL8444
ETL10201
ETL13800
ETL10501
ETL16901
ETL1970
Location
5.1
5.1 If there are signs designating permanent rooms and spaces not likely to change over time, e.g. room numbers and letters, room names, and exit signs: [216.2] Do text characters contrast with their backgrounds? [703.5] Are text characters raised? [703.2] Is there Braille? [703.3] Is the sign mounted: On the wall on the latch side of the door? [703.4.2] Note: Signs are permitted on the push side of doors with closers and without hold-open devices. With clear floor space beyond the arc of the door swing between the closed position and 45-degree open position, at least 18 x 18 inches centered on the tactile characters?* [703.4.2] So the baseline of the lowest character is at least 48 inches above the floor and the baseline of the highest character is no more than 60 inches above the floor? * [703.4.1] Note: If the sign is at double doors with one active leaf, the sign should be on the inactive leaf; if both leaves are active, the sign should be on the wall to the right of the right leaf.
Notes
Photo 1
Photo 2
Actions
Edit
Delete
There are no
Entries.
Add Entry
Maximum number of entries reached.
5.2
5.2 If there are signs that provide direction to or information about interior spaces: Do text characters contrast with their backgrounds? [703.5.1] Is the sign mounted so that characters are at least 40 inches above the floor? [703.5.6] Note: Raised characters and Braille are not required.
Notes
Photo 1
Photo 2
Actions
Edit
Delete
There are no
Entries.
Add Entry
Maximum number of entries reached.
Interior Doors – to classrooms, medical exam rooms, conference rooms, etc.
5.3
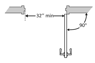
5.3 Is the door opening width at least 32 inches clear, between the face of the door and the stop, when the door is open 90 degrees? [404.2.3]
Notes
Photo 1
Photo 2
Actions
Edit
Delete
There are no
Entries.
Add Entry
Maximum number of entries reached.
5.4
5.4 If there is a front approach to the pull side of the door, is there at least 18 inches of maneuvering clearance beyond the latch side plus at least 60 inches clear depth? Note: See 2010 Standards 404.2.4 for maneuvering clearance requirements on the push side of the door and side approaches to the pull side of the door. On both sides of the door, is the floor surface of the maneuvering clearance level (no steeper than 1:48)? [404.2.4]
Notes
Photo 1
Photo 2
Actions
Edit
Delete
There are no
Entries.
Add Entry
Maximum number of entries reached.
5.5
5.5 If the threshold is vertical is it no more than ¼ inch high? Or No more than ½ inch high with the top ¼ inch beveled no steeper than 1:2, if the threshold was installed on or after the 1991 ADA Standards went into effect (1/26/93)? Or No more than ¾ inch high with the top ½ inch beveled no steeper than 1:2, if the threshold was installed before the 1991 ADA Standards went into effect (1/26/93)? [404.2.5, 303.2] Note: The first ¼ inch of the ½ or ¾ inch threshold may be vertical; the rest must be beveled.
Notes
Photo 1
Photo 2
Actions
Edit
Delete
There are no
Entries.
Add Entry
Maximum number of entries reached.
5.6
5.6 Is the door equipped with hardware that is operable with one hand and does not require tight grasping, pinching or twisting of the wrist? Door handle? Lock (if provided)? [404.2.7]
Notes
Photo 1
Photo 2
Actions
Edit
Delete
There are no
Entries.
Add Entry
Maximum number of entries reached.
5.7
5.7 Are the operable parts of the hardware no less than 34 inches and no greater than 48 inches above the floor? [404.2.7] [404.2.10] [404.2.11]
Notes
Photo 1
Photo 2
Actions
Edit
Delete
There are no
Entries.
Add Entry
Maximum number of entries reached.
5.8
5.8 Can the door be opened easily (5 pounds maximum force)? [404.2.9] Note: You can use a pressure gauge or fish scale to measure force. If you do not have one you will need to judge whether the door is easy to open.
Notes
Photo 1
Photo 2
Actions
Edit
Delete
There are no
Entries.
Add Entry
Maximum number of entries reached.
5.9
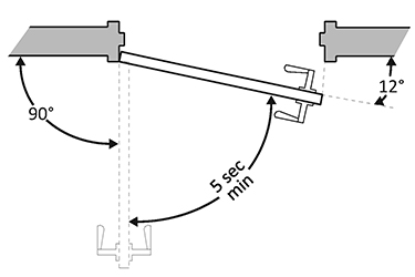
5.9 If the door has a closer, does it take at least 5 seconds to close from an open position of 90 degrees to a position of 12 degrees from the latch? [404.2.8.1]
Notes
Photo 1
Photo 2
Actions
Edit
Delete
There are no
Entries.
Add Entry
Maximum number of entries reached.
Rooms and Spaces – stores, supermarkets, libraries, etc.
5.10
5.10 Are aisles and pathways to goods and services, and to one of each type of sales and service counters, at least 36 inches wide? [403.5.1]
Notes
Photo 1
Photo 2
Actions
Edit
Delete
There are no
Entries.
Add Entry
Maximum number of entries reached.
Controls – light switches, security and intercom systems, emergency/alarm boxes, etc.
5.13
5.13 Is there a clear floor space at least 30 inches wide by at least 48 inches long for a forward or parallel approach? [305.3] Are the operable parts no higher than 48 inches above the floor?* [309.3, 308]
Notes
Photo 1
Photo 2
Actions
Edit
Delete
There are no
Entries.
Add Entry
Maximum number of entries reached.
5.14
5.14 Can the control be operated with one hand and without tight grasping, pinching, or twisting of the wrist? [309.4]
Notes
Photo 2
Photo 1
Actions
Edit
Delete
There are no
Entries.
Add Entry
Maximum number of entries reached.
5.15
5.15 Accessible Route: Do hallways and corridors have a clearance of 36 inches with an occasional 5 x 5 foot space for turning and passing at intervals not exceeding 200 feet?
Notes
Photo 1
Photo 2
Actions
Edit
Delete
There are no
Entries.
Add Entry
Maximum number of entries reached.
5.16
5.16 Clear Width of Door: Do the doors to meeting rooms, the gym, pool, sauna, laun-dry and other guest service areas have a clear opening of 32 inches?
Notes
Photo 1
Photo 2
Actions
Edit
Delete
There are no
Entries.
Add Entry
Maximum number of entries reached.
5.16
5.16a If there are two doors in a series, e.g. vestibule, is the distance between the doors at least 48 inches plus the width of the doors when swinging into the space? [404.2.6]
Notes
Photo 1
Photo 2
Actions
Edit
Delete
There are no
Entries.
Add Entry
Maximum number of entries reached.
5.16
5.16b If there is a privacy wall and the door swings out, is there at least 24 inches of maneuvering clearance beyond the door latch side and 42 inches to the privacy wall? [404.2.4]
Notes
Photo 1
Photo 2
Actions
Edit
Delete
There are no
Entries.
Add Entry
Maximum number of entries reached.
5.17
5.17 Are an adequate number of wheelchair spaces provided? [221.2.1]
Notes
Photo 1
Photo 2
Actions
Edit
Delete
There are no
Entries.
Add Entry
Maximum number of entries reached.
5.18
5.18 Are wheelchair spaces dispersed to allow location choices and viewing angles equivalent to other seating, including specialty seating areas that provide distinct services and amenities? [221.2.3]
Notes
Photo 1
Photo 2
Actions
Edit
Delete
There are no
Entries.
Add Entry
Maximum number of entries reached.
5.19
5.19 Where people are expected to remain seated, do people in wheelchair spaces have a clear line of sight over and between the heads of others in front of them? [802.2.1.1, 802.1.1.2]
Notes
Photo 1
Photo 2
Actions
Edit
Delete
There are no
Entries.
Add Entry
Maximum number of entries reached.
5.20
5.20 Where people are expected to stand, do people in wheelchair spaces have a clear line of sight over and between the heads of others in front of them? [802.2.2.1, 802.1.2.2]
Notes
Photo 1
Photo 2
Actions
Edit
Delete
There are no
Entries.
Add Entry
Maximum number of entries reached.
5.21
5.21 If there is a single wheelchair space, is it at least 36 inches wide? [802.1.2]
Notes
Photo 1
Photo 2
Actions
Edit
Delete
There are no
Entries.
Add Entry
Maximum number of entries reached.
5.22
5.22 If there are two adjacent wheelchair spaces, are they each at least 33 inches wide? [802.1.2]
Notes
Photo 1
Photo 2
Actions
Edit
Delete
There are no
Entries.
Add Entry
Maximum number of entries reached.
5.23
5.23 If the wheelchair space can be entered from the front or rear, is it at least 48 inches deep? [802.1.3]
Notes
Photo 1
Photo 2
Actions
Edit
Delete
There are no
Entries.
Add Entry
Maximum number of entries reached.
5.24
5.24 If the wheelchair space can only be entered from the side, is it at least 60 inches deep? [802.1.3]
Notes
Photo 1
Photo 2
Actions
Edit
Delete
There are no
Entries.
Add Entry
Maximum number of entries reached.
5.25
5.25 Do wheelchair spaces adjoin, but not overlap, accessible routes? [802.1.4]
Notes
Photo 2
Photo 1
Actions
Edit
Delete
There are no
Entries.
Add Entry
Maximum number of entries reached.
5.27
5.27 Are at least 5%, but no fewer than one, of seating and standing spaces accessible for people who use wheelchairs? [226.1]
Notes
Photo 1
Photo 2
Actions
Edit
Delete
There are no
Entries.
Add Entry
Maximum number of entries reached.
5.28
5.28 Is there a route at least 36 inches wide to accessible seating? [403.5.1]
Notes
Photo 1
Photo 2
Actions
Edit
Delete
There are no
Entries.
Add Entry
Maximum number of entries reached.
5.29
5.29 At the accessible space(s), is the top of the accessible surface no less than 28 inches and no greater than 34 inches above the floor? [902.3] Note: If for children, the top should be no less than 26 inches and no greater than 30 inches above the floor.
Notes
Photo 1
Photo 2
Actions
Edit
Delete
There are no
Entries.
Add Entry
Maximum number of entries reached.
5.30
5.30 Is there a clear floor space at least 30 inches wide by at least 48 inches long for a forward approach? [305.3] Does it extend no less than 17 inches and no greater than 25 inches under the surface? Is there knee space at least 27 inches high and at least 30 inches wide? [306.2, 306.3] Note: If for children, the knee space may be 24 inches high.
Notes
Photo 1
Photo 2
Actions
Edit
Delete
There are no
Entries.
Add Entry
Maximum number of entries reached.
5.31
5.31 Is there at least one space at least 36 inches wide by at least 48 inches long for a person in a wheelchair? [802.1.2, 802.1.3]
Notes
Photo 1
Photo 2
Actions
Edit
Delete
There are no
Entries.
Add Entry
Maximum number of entries reached.
5.32
5.32 In locker rooms, dressing rooms and fitting rooms, is there at least one room with a bench? [222.1, 803.4]
Notes
Photo 1
Photo 2
Actions
Edit
Delete
There are no
Entries.
Add Entry
Maximum number of entries reached.
5.33
5.33 Is there a clear floor space at least 30 inches wide by at least 48 inches long at the end of the bench and parallel to the short axis of the bench? Is the bench seat at least 42 inches long and no less than 20 inches and no greater than 24 inches deep? Does the bench have back support or is it affixed to a wall? Is the top of the bench seat no less than 17 inches and no greater than 19 inches above the floor? [903]
Notes
Photo 1
Photo 2
Actions
Edit
Delete
There are no
Entries.
Add Entry
Maximum number of entries reached.
5.34
5.34 Is there a portion of at least one of each type of counter that is: No higher than 36 inches above the floor, at least 36 inches long and as deep as the main counter? [904.4.1] Is there a clear floor space at least 30 inches wide by at least 48 inches long for a forward or parallel approach? [904.4] Is there a writing surface, with its top no less than 28 inches and no greater than 34 inches above the floor? [904.3.3]
Notes
Photo 1
Photo 2
Actions
Edit
Delete
There are no
Entries.
Add Entry
Maximum number of entries reached.
5.35
5.35 Dining Counters and Bars: Where food or drink is served at counters or bars exceeding 34 inches in height, is there a portion structurally integrated into the main counter that is a minimum of 60 inches long that provides a maximum height of 34 inches?
Notes
Photo 1
Photo 2
Actions
Edit
Delete
There are no
Entries.
Add Entry
Maximum number of entries reached.
5.36
5.36 Do the routes around all table and seating areas, including waiting lines, have a clear opening of at least 36 inches? Can chairs be spaced to provide a 30 inch wide space at the table for wheelchair access? Do seating spaces at tables allow for a forward approach and provide a clear floor space of 30 x 48 inches? Is the top surface of the dining table 28 inches minimum to 34 inches maximum height from the floor surface? Does the space under tables have leg and toe room that provides at least 27 inches in height, 30 inches in width, and 17 inches in depth? Are wheelchair seating spaces distributed throughout? Note: This provides customer choice in seating location and type, reservation time or other services offered.
Notes
Photo 1
Photo 2
Actions
Edit
Delete
There are no
Entries.
Add Entry
Maximum number of entries reached.
Other
Notes
Photo 1
Actions
Edit
Delete
There are no
Entries.
Add Entry
Maximum number of entries reached.
Adding {{itemName}} to cart
Added {{itemName}} to cart
Loading...