Skip links
Skip to primary navigation
Skip to content
ALL FORMS
SEARCH / UPDATE ENTRIES
All Entry Forms
P0 – Site Info & Doc#
P1 – Parking
P2 – Exterior Routes
P3 – Interior Routes
P4 – Elevators & Lifts
P5 – Primary Areas
P6 – Other Elements
P7 – Toilet Rooms (1-21)
P7 – Toilet Rooms (22-Other)
P8 – Guest Rooms (8-18)
P8 – Guest Rooms (19-Other)
P9 – Pools
GENERATE REPORT
Logout
Toggle navigation
Resources
LinkedIn
This field is for validation purposes and should be left unchanged.
Hotel Guest Rooms
Hotel Guest Rooms
{Doc#:127} | {Location:128}
Doc#
CC001
ETL10201
ETL10501
ETL13800
ETL16901
ETL1970
ETL8444
FC 001
FC002
FC003
R34M001
R34MM001
Location
8.1 Accessible Guest Rooms
8.1 Are accessible guest rooms available, including those with roll-in showers? Are the guest rooms that provide mobility features and communication features dispersed in all classes of guest rooms? (king, double queen, suite, etc). NEW 2010 Standards effective on remodel or addition: Are no more than 10% of guest rooms with mobility features used to meet the minimum of guest rooms with communication features? When the minimum number of accessible guest rooms is insufficient to allow for complete dispersion, disperse guest rooms in the following priority: Room Type, Number of Beds and Amenities.
Notes
Photo 1
Photo 2
Actions
Edit
Delete
There are no
Entries.
Add Entry
Maximum number of entries reached.
8.2 Van Accessible Spaces
8.2 Do these rooms have audible and visible alarms connected to the building’s emergency/fire alarm system? NEW 2010 Standards effective when remodel or rooms added: Audible and visible alarms must be permanently installed. Are visual notification devices that alert residents to an incoming telephone call and door bell/knock available?
Notes
Photo 1
Photo 2
Actions
Edit
Delete
There are no
Entries.
Add Entry
Maximum number of entries reached.
8.3
8.3 Do the number of rooms with communication features comply with the chart? Is there an electrical outlet located within 48 inches of the telephone, within reach range, to facilitate the use of a TTY?
Notes
Photo 1
Photo 2
Actions
Edit
Delete
There are no
Entries.
Add Entry
Maximum number of entries reached.
8.4
8.4 Are volume-controlled telephones available for guests in rooms with communication features? Are text telephones (TTYs) available for guests and is one TTY phone kept at front desk so guest can communicate with hotel?
Notes
Photo 1
Photo 2
Actions
Edit
Delete
There are no
Entries.
Add Entry
Maximum number of entries reached.
8.5
8.5 Are room numbers raised for tactile identification and also available in Braille? Are signs mounted so that the tactile characters are between 48 to 60 inches from the floor surface? NEW 2010 Standards effective when you remodel: Signs must be mounted so the bottom edge of the highest tactile characters is 60 inches max above the floor and the lowest tactile characters are 48 inches minimum from the floor.
Notes
Photo 1
Photo 2
Actions
Edit
Delete
There are no
Entries.
Add Entry
Maximum number of entries reached.
8.6
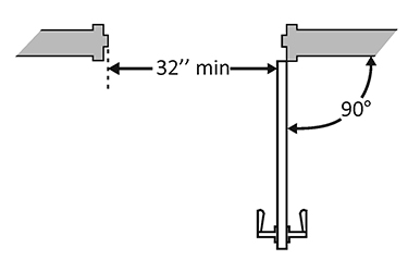
8.6 Is the clear opening width of the accessible entrance door at least 32 inches, between the face of the door and the stop, when the door is open 90 degrees? [404.2.3]
Notes
Photo 1
Photo 2
Actions
Edit
Delete
There are no
Entries.
Add Entry
Maximum number of entries reached.
8.7
8.7 If there is a front approach to the pull side of the door, is there at least 18 inches of maneuvering clearance beyond the latch side plus at least 60 inches clear depth? Note: See 2010 Standards 404.2.4 for maneuvering clearance requirements on the push side of the door and side approaches to the pull side of the door. On both sides of the door, is the ground or floor surface of the maneuvering clearance level (no steeper than 1:48)? [404.2.4]
Notes
Photo 1
Photo 2
Actions
Edit
Delete
There are no
Entries.
Add Entry
Maximum number of entries reached.
8.8
8.8 If the threshold is vertical is it no more than ¼ inch high? -Or- No more than ½ inch high with the top ¼ inch beveled no steeper than 1:2, if the threshold was installed on or after the 1991 ADA Standards went into effect (1/26/93)? -Or- No more than ¾ inch high with the top ½ inch beveled no steeper than 1:2, if the threshold was installed before the 1991 ADA Standards went into effect (1/26/93)? [404.2.5, 303.2] Note: The first ¼ inch of the ½ or ¾ inch threshold may be vertical; the rest must be beveled.
Notes
Photo 1
Photo 2
Actions
Edit
Delete
There are no
Entries.
Add Entry
Maximum number of entries reached.
8.9
8.9 Is the door equipped with hardware that is operable with one hand and does not require tight grasping, pinching or twisting of the wrist? Door handle? Lock (if provided)? [404.2.7]
Notes
Photo 1
Photo 2
Actions
Edit
Delete
There are no
Entries.
Add Entry
Maximum number of entries reached.
8.10
8.10 Are the operable parts of the door hardware no less than 34 inches and no greater than 48 inches above the floor or ground surface? [404.2.7]
Notes
Photo 1
Photo 2
Actions
Edit
Delete
There are no
Entries.
Add Entry
Maximum number of entries reached.
8.11
8.11 If the door has a closer, does it take at least 5 seconds to close from an open position of 90 degrees to a position of 12 degrees from the latch? [404.2.8]
Notes
Photo 1
Photo 2
Actions
Edit
Delete
There are no
Entries.
Add Entry
Maximum number of entries reached.
8.12
8.12 If there are two doors in a series, e.g. vestibule, is the distance between the doors at least 48 inches plus the width of the doors when swinging into the space? [404.2.6]
Notes
Photo 1
Photo 2
Actions
Edit
Delete
There are no
Entries.
Add Entry
Maximum number of entries reached.
8.13
8.13 Is there a 36" x 48" clear space on both sides of the bed in accessible rooms? If two beds in the room, is there a minimum 36" x 48" space between the two beds? Recommended bed height is 20" to 22" AFF.
Notes
Photo 1
Photo 2
Actions
Edit
Delete
There are no
Entries.
Add Entry
Maximum number of entries reached.
8.14
8.14 Do protruding objects such as wall mounted televisions, hanging lamps, etc. extend no more than 4 inches from wall?
Notes
Photo 1
Photo 2
Actions
Edit
Delete
There are no
Entries.
Add Entry
Maximum number of entries reached.
8.15
8.15 Do guest rooms and bathrooms allow sufficient turning space for wheelchairs? (60 inches min.)
Notes
Photo 1
Photo 2
Actions
Edit
Delete
There are no
Entries.
Add Entry
Maximum number of entries reached.
8.16
8.16 Are controls and sockets for all room elements located within reach with clear space for approach and use?
Notes
Photo 1
Photo 2
Actions
Edit
Delete
There are no
Entries.
Add Entry
Maximum number of entries reached.
8.17
8.17 Are storage units mounted no higher than 48 inches? Note: If curtains, coat hooks and latches, shelves, cabinets, dressers or closets are provided, at least one of every type provided must be within reach.
Notes
Photo 1
Photo 2
Actions
Edit
Delete
There are no
Entries.
Add Entry
Maximum number of entries reached.
8.18
8.18 Are mirrors mounted so that the bottom is no higher than 40 inches above the floor?
Notes
Photo 1
Photo 2
Actions
Edit
Delete
There are no
Entries.
Add Entry
Maximum number of entries reached.
8.19
8.19 Is the sink mounted at least 27 inches from the floor to provide knee clearance, at a maximum height of 34 inches to the top surface of the sink, and is the bottom of the drain pipe at least 9 inches from the floor surface? There is no knee or toe clearance under sinks.
Notes
Photo 1
Photo 2
Actions
Edit
Delete
There are no
Entries.
Add Entry
Maximum number of entries reached.
8.20
8.20 Is insulation or protective covering used on drain and hot water pipes under the sink to prevent contact?
Notes
Photo 1
Photo 2
Actions
Edit
Delete
There are no
Entries.
Add Entry
Maximum number of entries reached.
8.21
8.21 Seat Height and Distance from Wall: Is the top of the toilet 17 to 19 inches from the floor surface? Is the centerline of the toilet 16 inches minimum to 18 inches maximum from the side wall or partition?
Notes
Photo 1
Photo 2
Actions
Edit
Delete
There are no
Entries.
Add Entry
Maximum number of entries reached.
8.22
8.22 Grab Bars - Bath Tub with Removable Seat: Are there four grab bars of sufficient length and height mounted in the tub? See figure for location of grab bars for a bath tub having a removable seat.
Notes
Photo 1
Photo 2
Actions
Edit
Delete
There are no
Entries.
Add Entry
Maximum number of entries reached.
8.23
8.23 Grab Bars - Bath Tub with Permanent Seat: Are there three grab bars of sufficient length, height and strength mounted in the tub? See figure for location of grab bars for a bath tub having a permanent seat.
Notes
Photo 1
Photo 2
Actions
Edit
Delete
There are no
Entries.
Add Entry
Maximum number of entries reached.
8.24
8.24 Does the bathtub have 30" clear width for the length of the tub? If a permanent seat is provided does the CFS extend 12" beyond the seat?
Notes
Photo 1
Photo 2
Actions
Edit
Delete
There are no
Entries.
Add Entry
Maximum number of entries reached.
8.25
8.25 Does the transfer shower comply with 2010 ADAS Sections 608.2.1 and 608.3.1 as well as Figure 608.2.1?
Notes
Photo 1
Photo 2
Actions
Edit
Delete
There are no
Entries.
Add Entry
Maximum number of entries reached.
8.26
8.26 Do the transfer shower controls comply with 2010 ADAS Section 608.5.1 and Figure 608.5.1?
Notes
Photo 1
Photo 2
Actions
Edit
Delete
There are no
Entries.
Add Entry
Maximum number of entries reached.
8.27
8.27 Does the standard shower compartment meet the standards in Sections 608.2.2 and 608.3.2 as well as Figure 608.3.2?
Notes
Photo 1
Photo 2
Actions
Edit
Delete
There are no
Entries.
Add Entry
Maximum number of entries reached.
8.28
8.28 Do the controls for a standard shower conform to ADAS Section 608.5.2 and Figure 608.5.2?
Notes
Photo 1
Photo 2
Actions
Edit
Delete
There are no
Entries.
Add Entry
Maximum number of entries reached.
8.29
8.29 Does the alternate type shower compartment meet the standards in Sections 608.2.3 and 608.3.3 as well as Figure 608.3.3?
Notes
Photo 1
Photo 2
Actions
Edit
Delete
There are no
Entries.
Add Entry
Maximum number of entries reached.
8.30
8.30 Do the controls for an alternate shower conform to ADAS Section 608.5.3 and Figure 608.5.3?
Notes
Photo 1
Photo 2
Actions
Edit
Delete
There are no
Entries.
Add Entry
Maximum number of entries reached.
8.31
8.31 Does the shower have a 30" wide clear floor space for the full length?
Notes
Photo 1
Photo 2
Actions
Edit
Delete
There are no
Entries.
Add Entry
Maximum number of entries reached.
8.32
8.32 Is the standard roll-in shower compartment seat a folding type installed on the side wall adjacent to the controls, and extending from the back wall to a point within 3" of the compartment entry? In an alternate roll-in type shower compartment is it a folding type installed on the front wall opposite the back wall, and extending from the adjacent side wall to within 3" of the compartment entry?In transfer-type showers does the seat extend from the back wall to within 3" of the compartment entry? Is the seat top 17" to 19" above the finish floor? Do seats comply with 610.3.1 or 610.3.2?
Notes
Photo 1
Photo 2
Actions
Edit
Delete
There are no
Entries.
Add Entry
Maximum number of entries reached.
8.33
8.33 Is the top of the bathtub seat 17" to 19" above the bathroom finish floor. Is the depth of the removable in-tub seat 15" to 16". The seat shall be capable of secure placement. Is the permanent seat at the head end of the bathtub 15" deep minimum and extending from the back wall to or beyond the outer edge of the bathtub.
Notes
Photo 1
Photo 2
Actions
Edit
Delete
There are no
Entries.
Add Entry
Maximum number of entries reached.
8.34
8.34 Is the rear edge of a rectangular seat 2 1/2" maximum and the front edge 15" to 16" from the seat wall? Is the side edge of the seat be 1 1/2" maximum from the adjacent wall?
Notes
Photo 1
Photo 2
Actions
Edit
Delete
There are no
Entries.
Add Entry
Maximum number of entries reached.
8.35
8.35 Is the rear edge of an L-shaped seat shall be 2 1/2" maximum and the front edge 15" to 16" from the seat wall? Is the rear edge of the “L” portion of the seat 1 1/2" maximum from the wall and the front edge shall be 14" to 15" maximum from the wall? Is the end of the “L” 22" to 23" from the main seat wall?
Notes
Photo 1
Photo 2
Actions
Edit
Delete
There are no
Entries.
Add Entry
Maximum number of entries reached.
P1 Comments
Other
Notes
Photo 1
Photo 2
Photo 3
Actions
Edit
Delete
There are no
Entries.
Add Entry
Maximum number of entries reached.
8.36
8.36 Cross slope exceeds 1:48 and/or running slope exceeds 5% on walking surface violating ADAS Section 403.3.
Notes
Photo 1
Photo 2
Actions
Edit
Delete
There are no
Entries.
Add Entry
Maximum number of entries reached.
Adding {{itemName}} to cart
Added {{itemName}} to cart
Loading...